|首页|

 |公司简介|

|产品介绍|

|技术支持|

|方案推介|

|资料下载|

|客户留言|

|客户服务|

 

单片机MCU FPGA/ASIC ARM DSP 编程器/烧录 仿真器 实验开发板 适配器/插座
无线收发 语音音乐 温湿度计 计时定时 计算器 万年历 计步器 计数器
健康运动表 调光控光 遥控 编解码 闪灯彩灯 电波钟 电子秤 胎压监测
仪器仪表 医疗保健 玩具游戏 防盗报警 电器控制 电子指南针 LCD/LCM VFD/TFT/EL
风扇/密码 GPS 通信模块 电子礼品 数据采集 接口转换 新奇特IC 传感器
LED照明 汽车电子 红外测温 环保电子 数码电子 手机 电源管理 多媒体
无线收发IC 无线收发模块 ZIGBEE产品 无线开发工具 无线传感器 物联网 技术资料 应用产品 相关配件
 
单片无线收发芯片选型指南
TI/CHIPCON公司芯片资料及应用
NORDIC公司芯片资料及应用
MODEM芯片和数据通信芯片
HIMARK公司芯片资料及应用
MICREL公司芯片资料及应用
FREESCALE/MOTOROLA资料及应用
无线收发芯片技术资料/应用文章
CML公司芯片资料及应用
其它公司芯片资料及应用
开发板/开发工具
应用系统
短矩天馈系统/连接器选择
无线收发模块选择指南
无线收发模块选择指南
2.4GHz无线数传模块
433/868/915MHz无线数传模块 
2.4GHzCD音质高保真无线音频模块
数传模块选择指南
遥控开关选择指南
无线遥控器
无线接收控制器
无线收发模块
无线数传模块
GSM模块
防盗报警器
无线门磁系列
无线收发组件
接收器类
无线PDA
无线影音
GIS/GPS
GSM
3G
红外探测器
烟雾报警器
红外对射探测器
灯具专用遥控开关
电话遥控器
电脑控制产品
遥控器类
探测器类
无线音频
蓝牙产品
WI-FI
CDMA
无线定位/无线测向
电台
燃气泄漏报警器
灯具专用遥控开关
报警喇叭及闪灯
无线特殊产品
无线呼叫系统
整机类
遥控开关类
无线通信电路
无线抄表
矿井人员定位系列
电动车控制器系列
汽车电子
无线鼠标/无线键盘
GPRS
PDA/电子辞典
 
遥控器类
固定码割码遥控器
固定码免割码遥控器
滚动码遥控器
学习型遥控器
发射模块类
无线发射模块系列  
常用无线发射模块系列
大功率发射模块系列
带编码发射模块系列
不带编码发射模块
固定码编码发射模块
双频调频发射模块
调频发射模块
接收模块类
不带解码接收模块
固定码解接收模块
滚动码解接收模块
双频调频接收模块
调频接收接收模块
超外差接收模块系列 
超强抗干扰超外差接收
强抗干扰超外差接收模
高性价比超外差接收模
低功耗超外差接收模块
低电压超外差接收模块
低电压低功耗超外差接  
欧洲出脚标准超外差接
超再生接收模块系列
低功耗超再生接收模块
低电压超再生接收模块
常用超再生接收模块系
ASK超外差接收模块系列
学习码解码接收模块
滚动码解码接收模块系列
固定码解码接收模块系列
无线遥控器系列
无线发射模块系列
低功耗接收模块
FSK调频收发模块系列
超再生接收模块
红外转无线传输模块
RF带继电器控制器
无线门窗控制器
无线开关控制器类
互锁型开关控制器
脉冲型开关控制器
时代之光开关控制器
自锁型开关控制器
双向收发模块
安防报警主机及组件
家用型
汽车电子用品
单向汽车防盗
汽车多用测试
倒车雷达
GSM汽车防
汽车电瓶保护
振动传感器
汽车中控锁
无线监控产品
2.G影音
无线可视门铃
无线燃气热水
调频发射接收模块系列 
调频发射模块系列 
调频接收模块系列 
带解码接收模块系列
固定码接收模块系列 
学习码接收模块系列
滚动码接收模块系列
无线遥控器系列 
工业控制器系列 
常用无线遥控器系列 
新型美观遥控器系列 
无线语音传输模块系列
⒉4G无线语音传输模
868M无线语音传输  
红外转无线传输模块  
无线双向传输模块序列
SYN无线射频IC
ASK发射IC 
ASK接收IC 
无线耳机系列  
汽车轮胎报警器 
数字式高精度智能充气
无线上网卡 
27MHZ调频模块
微功率无线数传模块
小功率无线数传模块
中功率无线数传电台
大功率无线数传电台
天线电源避雷器附件
CFDA自组网无线抄表系统
低压电力无线抄表通讯终端
计量频段数传电台及模块
水,气表低功耗模块
无线数传电台
无线数传模块
有源RFID
PDA、点菜机用无线模块
模拟量,开关量采集模块
无线数传解决方案
GSM无线数传模块
GPRS无线数传模块
CDMA无线数传模块
GPS卫星授时模块
 
 
                                433/868/915MHz收发芯片nRF903

特点

nRF903是NORDIC公司最新推出的单片元线收发一体的芯片,采用了Bluetooth核心技术设计,在一个32脚的芯征中包括了三段高频发射、高频接收、PLL合成、I/Q调制、I/Q解调、多频道切换、异步通信接口等,是目前集成度最高的无线数据传输产品之一。

以往设计无线数据传输产品往往需要相当的无线专业知识和价格高昂的专业设备,传统的电路方案不是电路繁琐就是调试困难,令人望而却步,影响了用户的使用和新产品的开发。线产品设计的困难,它采用抗干扰能力强的GMSK调制方式,工作频率稳定可靠,外围元件少,便于设计生产,功耗极低,适合于便携及手持产品的设计,工作在了际通用ISM频率,特别适合多频段多频点的应用场合。可用于遥控、遥测、小型无线网络、无线抄表、门禁系统、小区传呼、工业数据采集系统、无线标签、身份识别、非接触RF智能卡、小型无线数据终端、安全防火系统、无线遥控系统、生物信号采集、水文气象监控、机器人控制、无线数字图像、数字语音传输等领域。

功能

*三频段收发合一,工作频率为了际通用的ISM频段433/868/915MHz;

*GMSK调制,抗干扰能力强,特别适合工业控制场合;

*采用DSS+PLL频率合成技术,频率稳定性极性;

*灵敏度高,达到-100dBm;

*低工作电压(2.7V),功耗小,接收待机状态仅为1μA,可满足低功耗设备的要求;

*最大发射功率达+10dBm;

   
*具有多个频道(最多170个以上),特别满足需要多信道工作的特殊场合;

*工作速率最高可达76.8Kbps;

*外围元件最少(仅10个),基本无需调试;

*由于采用了低发射功率、高接收灵敏度的设计,使用无需申请许可证,开阔地的使用距离最远可达1000米。

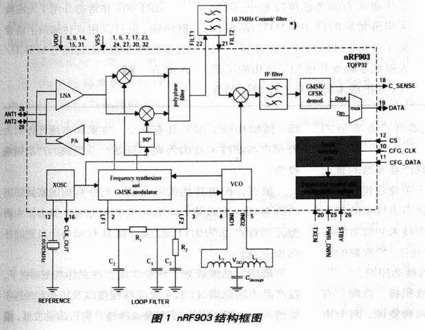
内部框图

从芯片的内部框图(图1)可以看出,包括低噪声放大器LNA、功率放大器PA、压控振荡器VCO、GMSK调制解调、频率基准源、PLL频率合成、数字静噪电路、单片机接口等。

与微控制器的接口

nRF903的用户接口(图2)分为三大类:

(1)数据接口:DATA(数据)、TXEN(收发控制),可直接接单片机的串行口;

(2)编程接口:CFG_CLK(配置寄存器时钟)、CFG_DATA(配置寄存器数据)、CS(配置寄存器片选),对工作频率等参数进行设置,可接单片机I/O口来进行控制;

(3)芯片状态及控制口:STBY(待机)、PWR_DWN(掉电)、CLK_OUT(时钟分频输出,可供外部MCU使用)、C_SENCE(静噪输出)。

    NRF903编程流程:

(1)芯片初始化,通过单片机对芯片内部寄存器进行设置,设定工作频率、发射功率等参数;

(2)进入正常工作状态,根据需要进行收发转换控制,发送数据或状态的转换。

性能参考

nRF903在设计上充分考虑了使用和编程的方便,可以直接接单片机串口发送接收数据,而无需对数据进行曼彻斯特编码,其他的单片RF收发芯片一般都需要对数据进行曼彻斯特编码后才能发送。采用曼彻斯特编码不仅增加了编程的复杂性,而且传输效率低,实际速率仅为标称的一半,不能满足实时传输的需要。NRF903是目前外接元器件最少(10个)和工作频点最多(170个)的单片RF收发芯片;在元器件成本方面考虑得较充分。例如采用最常见的11.0592MHz晶振和易于获得的10.7MHz滤波器,大大降低了成本并增加了使用的灵活性;并把成本较高且不易调试的变容二极管集成在芯片内部;具有数字静噪信号输出。

典型应用

图3是nRF903的典型应用原理图。图中可以看到,外围元件很少,包括一个基准晶体及几个无源器件,没有调试部件,这给研制及生产带来了极大的方便。

NRF903非常适合用于无线数据传输;也可以用来传输数字语音以及数字图像,此时需要A/D、D/A配合。

东芝公司的TLCS-870系列单片机为高性能8位单片机系列产品。该系统产品有几十种类型,它们具相同的CPU模块和指令系统,各种类型都有廉价的掩膜ROM和一次性可编程的OTP。

用三段单片RF无线收发芯片nRF903设计无线数传平台
   摘要:最新三段单片无线收发芯片nRF903是集成了高频发射、高频接收、PLL合成、GMSK调制、GMSK解调和多频道切换功能的新型无线收发器件,它性能优异,所需外围元件少,功耗低,使用方便。其最大的特点是多频段(433/868/915MHz)、多频点(电台多达170个),并可直接与单片机串口相连接,可广泛应用于无线数传产品的设计。

    关键词:RF收发器 nRF903 GMSK PLL 无线数传

1 芯片特点

nRF903 是北欧集成电路公司最新推出的单片无线收发一体的芯片,该芯片采用蓝牙核心技术设计,在一个32脚的芯片中包括了高频发射、高频接收、三段PLL合成、 FSK/GMSK调制,FSK/GMSK解调等多种功能。NRF903的出现使人们摆脱了无线产品设计的困难,是目前业界外围元件最少、使用最方便的无线数传解决方案,nRF903覆盖了国际上通用的ISM频段,因此利用nRF903可构建用于便携及手持产品的无线数传通信平台,并可广泛用于摇控、小型无线网络、无线抄表、门禁系统、小区传呼、工业数据采集系统、无线标签、身份识别、非接触RF智能卡、小型无线数据终端、安全防火系统、无线遥控系统、生物信号采集、水文气象监控、机器人控制、无线232数据通信、无线数字语音、数字图像传输等方面。

2 内部结构

图1是nRF903无线收发芯片的内部原理结构框图及其外围电路。从芯片的内部框图可以看出,NRF903内部由低噪声放大器LNA、功率放大器PA、压控振荡器VCO、GMSK调制解调、频率基准源、PLL频率合成、数字静噪电路以及单片机接口等组成。

3 芯片特点

nRF903 无线收发芯片具有多频道、高速高等特点,它的另一个显著特点是外围元件极少(约10个)。该芯片在设计上充分考虑了用户编程和使用的方便,它可以直接接单片机串口并可进行发送和接收数据,而无需对数据进行曼彻斯特编码,其它的单片RF收发芯片一般都需要对数据进行曼彻斯特编码后才能发送,采用曼彻斯特编码不仅增加了编程的复杂性,而且传输效率低,其它际速率仅为标称值的一半,因此不能满足实时传输的需要。而nRF903系列独特的技术可以直接传送单片机的串口数据,目前还没有其它厂商能做到这一点。NRF903是目前外接元件最少的单片RF收发芯片之一。NRF903采用易于获得的11.0592MHz晶振和10.7MHz滤波器,它内部集成了变容二极管,并通过频率合成器合成工作频率,因而大大降低了成本并增加了使用的灵活性;其他厂商一般需要外接变容二极管和价格昂贵的声表面滤波器以及特殊定做的晶体,因此生产调试不便且成本增加。表1是部分单片RF收发芯片性能比较表。

表1 几种主要的单片RF收发芯片的性能比较

Brand nRF903 Nordic RF2915 RFMD TRF6900 TI CC900 ChipCom 性能比较
频率(MHz) 433/868/915 433/868/915 868/919 868/915 nRF903三段覆盖,应用更灵活
工作电压 2.7-3.3V 2.4-5.0V 2.2-3.6V 2.7-3.6V 低功耗
数据可否直接接单片机串口使用

可以直接接单 片机串口使用,数据无需曼彻斯特编码,直接采用异步或同步方式

不能直接接单片机串口使用,数据需要进行曼彻斯特编码,效率低(实际速率为标称的一半)

不能直接接单片机串口使用,数据需要进行曼彻斯特编码,效率低(实际速率为标称的一半)

不能直接接单片机串口使用,数据需要进行曼彻斯特编码,效率低(实际速率为标称的一半)

nRF903编程方便,通信效率更高。采用曼彻斯特编码无法实时传输数据

工作温度 -40℃~+85℃ -40℃~+85℃ -20℃~+60℃ -30℃~+85℃ nRF903范围更宽
发射电流 31mA 27mA/0dBm 50mA 91mA nRF903功耗较小
接收电流 23mA 6.8mA+外部电路 34mA 23mA nRF903功耗较小
输出功率 +10dBm 0dBm +4.5dBm +4dBm nRF903发射功率较大
速率 76.8kbps 9.6kbps   9.6kbps nRF903速率较高
调制方式 GMSK FSK FSK FSK GMSK方式的抗干扰能力较强
天线数目 1 1 2 1 nRF903节省天线
封装 TQFP32 LQFP32 PQFP48 SSOP28 nRF903占用面积小,成本低
多频道能力 有(最多170个) 有,可编程 有,可编程 多频道更为灵活
是否需要外接变容管 无需外接,已在内部集成 需要外接昂贵的变容二极管 需要外接昂贵的变容二极管 需要外接昂贵的变容二极管 nRF903更节约成配,性能更稳定
外接元件数目 10 50 50 >20 nRF903的外接元件最少,成本低,便于生产调试

4 无线数传平台设计

图2是一个基于nRF903的无线数传通用平台的典型应用电路图,它主要包括nRF903和单片机组。NRF903用于完成数据基带信号到RF信号的变换,单片机则用来完成对nRf903的初始化,以及数据的采集和传输的控制,图3为其软件编程流程图。

频率的设置通过单片机来设置,单片机将频率数据转换成对应的分频比,并通过I/O口将频率数据及功率设置等数据串行送入到nRF903的内部控制寄存器,以设定工作频率和其他配置。

数据的发送通过TXEN和Data脚来进行,由于nRF903是半双工工作模式,所以,接收和发射需要通过TXEN进行转换,也可以直接用I/O管脚来发送和接收数据。而用单片机的串行口来发送接收数据也完全可以,需要注意的是由于nRF903只有根数据输入输出线,因而需要一个切换电路,但这可以很方便地用一个电子开关来完成这种转换(如4066)。

该电路外围元件很少,仅有一个基准晶体及几个无源器件,没有调试部件,天线可用微带天线直接设计在线路板上,这给研制及生产带来了极大的方便。图3中的L1 电感需要用高Q高精度的贴片绕线高频电感(Q>45),晶体X1需要用高稳定晶体,电容元件也应选用高稳定的贴片元件(如NPO高稳定电容)。

5 结束语

nRF903是目前外接元件需求最少的单片RF收发芯片之一。由nRF903构成的无线数传平台可以在无线抄表、电力系统自动控制、安全防火控制等领域得到广泛的应用。

前言                             nRF401、nRF903和CC1000无线收发芯片的特性


  目前许多应用领域都采用无线的方式进行数据传输,这些领域涉及小型无线网络、无线抄表、门禁系统、小区传呼、工业数据采集系统、无线遥控系统、无线标签身份识别、非接触RF智能卡等。

  由于无线收发芯片的种类和数量比较多,无线收发芯片的选择在设计中是至关重要的,正确的选择可以减小开发难度,缩短开发周期,降低成本,更快地将产品推向市场。选择无线收发芯片时应考虑需要以下几点因素:功耗、发射功率、接收灵敏度、收发芯片所需的外围元件数量、芯片成本、数据传输是否需要进行曼彻斯特编码等。

  在本文中笔者就所了解的RF短距数据通信芯片nRF401、nRF903和CC1000作一个对比描述,给出了它们的结构原理、特性及应用电路。

2. nRF401无线收发芯片
  nRF401是Nordic公司研制的单片UHF无线收发芯片,工作在433MHz ISM(Industrial, Scientific and Medical)频段。它采用FSK调制解调技术,抗干扰能力强,并采用PLL频率合成技术,频率稳定性好,发射功率最大可达10dBm,接收灵敏度最大为-105dBm,数据传输速率可达20Kbps,工作电压在+3~5V之间。nRF401无线收发芯片所需外围元件较少,并可直接接单片机串口。
 

  nRF401芯片内包含有发射功率放大器(PA)、低噪声接收放大器(LNA)、晶体振荡器(OSC)、锁相环(PLL)、压控振荡器(VCO)、混频器(MIXFR)、解调器(DEM)等电路。在接收模式中,nRF401被配置成传统的外差式接收机,所接收的射频调制的数字信号被低噪声效大器放大,经混频器变换成中频,放大、滤波后进入解调器,解调后变换成数字信号输出(DOUT端)。在发射模式中,数字信号经DIN端输入,经锁相环和压控振荡器处理后进入到发射功率放大器射频输出。由于采用了晶体振荡和PLL合成技木,频率稳定性极好;采用FSK调制和解调,抗干扰能力强。

  nRF401的ANT1和ANT2引脚是接收时低噪声接收放大器LNA的输入,以及发送时发射功率放大器PA的输出。连接nRF401的天线可以以差分方式连接到nRF401,一个50Ω的单端天线也可以通过一个差分转换匹配网络连接到nRF401。
  图1所示为使用单端天线的nRF401的电路图,50Ω的单端天线通过差分转换匹配网络连接到nRF401的ANT1和ANT2引脚。
  图2所示为使用环形天线的nRF401的电路图,整个环形天线可以做在PCB上,对比传统的鞭状天线或单端天线,不仅节省空间和生产成本,机构上也更稳固可靠。


 
cted 03-03 14:17
3. nRF903无线收发芯片
  nRF903是Nordic公司为433/868/915MHz ISM频段设计的单片UHF多段无线收发芯片,它采用优化的GFSK调制解调技术,抗干扰能力强,采用DDS+PLL频率合成技术,频率稳定性好,灵敏度高达-104dBm,发射功率可以调整,最大发射功率是+10dBm,可在155.6kHz的有效带宽下传输最高76.8Kbps的数据。

  nRF903的工作电压范围可以从2.7~3.3V,接收待机状电流消耗为600μA,低功耗模式电流消耗仅为1μA,可满足低功耗设备的要求。nRF903具有多个频道(最多170个以上),特别满足需要多信道工作的特殊场合,适合采用跳频协议。


  nRF903的天线接口设计为差分天线,以便于使用低成本的PCB天线,所有的参数包括工作频率和发射功率都可以通过一个14位的配置寄存器用串行线(CS、CFG_CLK和CFG_DATA)进行设置。图3所示为使用环形天线的nRF903的应用电路图。

  nRF903内部结构可分为发射电路、接收电路、模式和低功耗控制逻辑电路及串行接口几个部分。发射电路含有:射频功率放大器、锁相环(PLL)、压控振荡器(VCO)、频率合成器等电路。基准振荡器采用外接晶体振荡器产生电路所需的基准频率。振荡电路采用锁相环(PLL)方式,由在DDS基础上的频率合成器、外接的无源回路滤波器和压控振荡器组成。压控振荡器由片内的振荡电路和外接的LC谐振回路组成。要发射的数据通过DATA端输入。

  接收电路包含有:低噪声放大器、混频器、中频放大器、GFSK解调器、滤波器等电路。低噪声放大器放大输入的射频信号;混频器采用2级混频结构,第一级中频10.7136MHz,第二级中频345.6kHz。中频放大器用来放大从混频器来的输出信号;中频放大器的输出信号经中频滤波器滤波后送入GFSK解调器解调,解调后的数字信号在DATA端出。


4. CC1000无线收发芯片
  CC1000是Chipcon公司推出的单片可编程RF收发芯片,它基于Chipcon's Smart RF技术,可工作在ISM频段(300~1000MHz)。CC1000集成了射频发射、射频接收、PLL合成、FSK调制解调、可编程控制等多种功能。

  CC1000采用锁相环技术,发射频率是通过内部的频率合成器来配置的,可配置的范围为300~1000MHz,适合应用跳频协议,一般可配出10或20个频点,该芯片灵敏度为-109dBm,并可自动校准,可编程输出功率为-20dBm~+10dBm,通信速率可达78.6Kbps。

  CC1000的主要工作参数可由一个串行接口编程设定,使用非常方便并且具有灵活性。CC1000芯片的外围元件较少,且对精度要求不高,并提供三种编码方式与微控制器接口。所以CC1000与一个微控制器和少数几个外接元件便可组成一个完整的RF收发系统。

  图4所示是CC1000的一个典型的应用电路,调节元器件C1-C13 、L1-L3、R1的参数值可使CC1000工作在不同工作频率(300~1000MHz)。
  微控制器可以通过CC1000的串行接口(PDATA、PAlE和PCLK)对CC1000进行设置,通过CC1000的DIO完成数据的接收和发送。

5. 三款无线收发芯片性能比较
  上述三款无线收发芯片nRF401、nRF903和CC1000在无线短距离数传中得到的大量的应用。

 
 

欢迎来电洽购我司产品或索取免费详细资料、设计指南和光盘

传感器世界仪器仪表专家网:HTTP//WWW.SENSOR-IC.COM/

智能工控安防消防网:HTTP//WWW.PC-PS.NET/

消费电子专用电路网:HTTP://WWW.SUNSTARE.COM/

地址: 深圳市福田区福华路福庆街鸿图大厦1602    E-MAILszss20@163.com

电话:0755-83398389 83387016 83387030 

传真:0755-83376182  83338339   邮编:518033  手机:(0)13902971329

E-MAIL:xjr5@163.com  MSN: SUNS8888@hotmail.com  QQ: 195847376
  技术支持: 0755-83394033 13501568376

深圳展销部:深圳华强北路赛格电子市场2583  TEL/FAX0755-83665529  13823648918

北京分公司:北京海淀区知春路132号中发电子大厦3097TEL4006579498  18927445855  13823791822  FAX010-62543996 

上海分公司:上海市北京东路668号上海賽格电子市场地下一层D25 TEL4006571586  56703037  13823676822  FAX021-56703037

西安分公司:西安高新开发区20(中国电子科技集团导航技术研究所)       西安劳动南路88号电子商城二楼D23 

TEL4006572198  13072977981  FAX:029-88789382